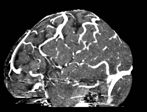
Arteriovenous malformation with
left IC aneurysm (embolized)
1mmx4, Pitch 3.0, 132mm, 22 seconds,
150mAs
3D Volume rendering
Data acquired by M. Hayakawa M.D.,
and processed by A. Taniguchi R.T.
Copyright 1999 by
Fujita Health University. All rights reserved

