舌がんに対する超高精細CTを用いた深達度診断
research
舌がんは病状が進行すると、食事や会話に問題を来たす悪性腫瘍です。早期がんであれば小さな範囲の切除で治りますが、進行すると切除範囲が大きくなり、他の部位の筋肉を移植して舌を作り直すこと(再建)が必要になります。そのため手術の負担が大きくなり、術後の生活の質が低下します。また近年、舌がんは腫瘍の大きさだけでなく、腫瘍の深さが重要であることが分かってきました。深いと早期がんでも、のちに、首のリンパ節へ転移しやすくなります。
舌がんは、できるだけ早期に発見して治療することが何より大切です。
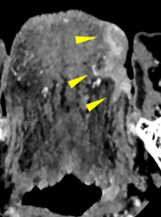
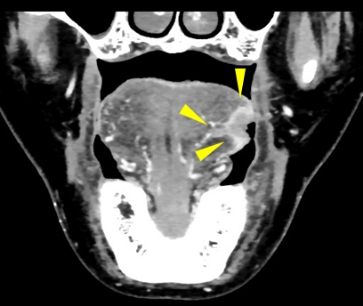
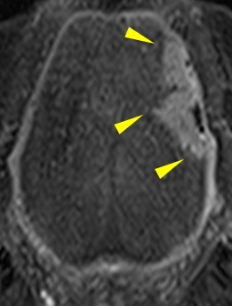
一般的に舌がんの術前の画像診断ではMRIが有用とされており、腫瘍のサイズや深さの評価が行われます。CTを使った従来の撮影方法では、歯科金属の影響でうまく腫瘍を描出することができませんでした。我々は超高精細CT(図1)を用い撮像の方法を工夫することで、舌がんをできるだけ正確に測定する試みを行っています。そうすることで非常に細かい、いわゆるキレイな画像を作成することができ、腫瘍の境界を鮮明に描出し、腫瘍のサイズをより正確に測定することが可能になりました(図2)

図1
2019年12月15日、東京のキャノン本社にて開催された『画論27th -the Best Image-』に当科と放射線技師の先生と参加させていただき、光栄なことに本撮像方法で最優秀賞をいただきました。